Search
  
 
Shaker Sconces - Harvard, Lebanon, and Pleasant Hill Sconces
Harvard, Lebanon, and Pleasant Hill Sconces
The Shaker Community
used Large quantities of hanging candle sconces. They were produced in many shapes and sizes and designed to hang from the pegged wall rails. Each would support a metal candleholders known as hog scrapers. Butternut, pine, walnut, butternut, and cherry were among the woods used, with an even greater variety of finishes including paints, stains, varnishes and oils.

The Harvard and New Lebanon sconces shown here have been reproduced in pine from examples made at the Harvard and New Lebanon community workshops. The Pleasant Hill sconce has been reproduced in cherry. You can use any of the woods mentioned above for satisfactory results.

Harvard and New Lebanon Sconces

Shaker Sconces - Harvard Sconce layout
Harvard Sconce layout
Shaker Sconces - New Lebanon Sconce layout
New Lebanon Sconce layout
With the exception of the 1/2" thick base for the Harvard sconce, all pieces are cut from boards prepared to 1/4" thickness. Guided by Figs I and 2, mark out and cut the pieces to size and shape, taking particular care when planing the correct angles for the New Lebanon sconce. For concave profiles, a drum sander is ideal for shaping the profiles and for the convex a disc sander is best.

All peg holes should be drilled out with a flat bit. The front edges of the base and sides of the Harvard sconce are sanded round by hand, blending the top edge of the sides flush with the recessed back. The edges on the New Lebanon sconce are square and only slightly dulled when finish sanding.

A very similar example from the same community can be seen in the Shaker collection at the American Museum in Bath. This has been made in butternut with all the upper edges rounded off. Such small variations in design were obviously tolerated by the Elders, so the choice is available.

Lay all pieces in position and check for fit before gluing and cramping. When set, clean up all surfaces with fine sandpaper, dulling any sharp edges ready for finishing.

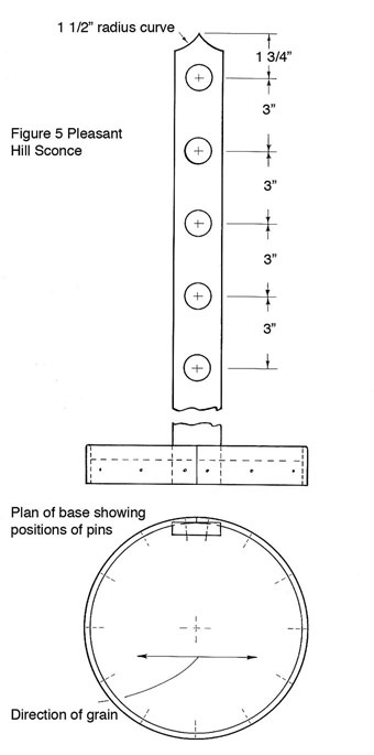
Pleasant Hill Sconce

Shaker Sconces - Pleasant Hill Sconce layout
Pleasant Hill Sconce layout
Five equally spaced peg holes in the back rail (see Fig 5) enabled the height of this sconce to be adjusted for convenience. Mark the centers and drill out with a 1 1/4" flat bit. Mark out the 1 1/2" radius curves of the pointed top, band saw, then sand smooth as with the insides of the drilled holes. Bandsaw the circular base, leaving just enough material to disc sand accurately to the line. Mark out the recess which will accommodate the back rail, making sure that the direction of grain is as shown in the Plan of base on Fig 5. Cut out with a saw and chisel to provide a firm fit. Shape the projecting corners of the rail bottom flush with the circumference of the base - this will allow the rim to blend in neatly at the back when finally assembling. Glue and cramp the rail in the base recess.

Cut the side strip to length, then round off the top rim with a smoothing plane and sandpaper. An extra 1/2" has been included in the length to allow for bending. Immerse the strip in hot water and leave for approximately 2 hours. While this is soaking, bandsaw a 9 7/16" diameter disc from the center of a piece of scrapwood 11 13/16" square by 1 9/16" to 1 15/16" thick. The off-cuts will serve as cramps.

Wrap, the flexible soaked strip firmly round the disc then tighten up in the vice with the cramps. Leave to dry for a couple of days.

Place the now dry circular band round the base, mark off the overlap and cut to finished length. Using a 1/8" diameter bit, pre-drill the pin holes 3/4" up from the bottom edge. Sand the sides smooth before gluing and pinning, taking care to position the ends at the center of the rail back. Remove any surplus glue, sand the bottom flat and smooth, then dull the outer edge ready for finishing.

Very similar sconces with a one-piece base were produced at the Union Village community, Ohio. These have a thicker rim, formed by recessing the centre of the base on the lathe. If preferred, this method could be adopted as an alternative.

Finishing

Sconces were often stained an orange red before varnishing. However, both color and medium varied enormously depending on the location. The examples shown have been left their natural color, sealed with clear varnish, then rubbed down lightly with fine steel wool before wax polishing.

Pieces to Cut

Harvard1 Back14 3/16" x 8 11/16" x 1/4"
2 Sides9 3/4" x 4 5/8" x 1/4"
1 Base8 1/16" x 4 5/8" x 1/2"
New Lebanon1 Back16 9/16" x 5 3/4" x 1/4"
2 Sides13" x 5 1/2" x 1/4"
1 Base6 7/16" x 4 15/16" x 1/4"
1 Front 6 1/2" x 1" x 1/4"
Pleasant Hill1 Back24 7/8" x 2" x 1/2"
1 Side29 1/8" x 1 1/4" x 3/16"
1 Base8 3/4" diameter x 1"


13 gimp pins 3/4" long
     

Source: Adapted from a book by Barry Jackson

Comments (0)Don't be shy, tell us what you think!   
Colonial Sense is an advocate for global consumer privacy rights, protection and security.
All material on this website © copyright 2009-26 by Colonial Sense, except where otherwise indicated.
ref:T6-S6-P607-C-M